A service that provides support to project management.
- GreenPM-API
- GreenBatch
- Java 8
- Maven 3.5
- PostgreSQL 9.6
API and Batch modules share the same server to process information. The pg_schema (src/main/resources) provides the necessary database structure for both applications use. The DDL auto mode is disable, by default.
- Defines a new database greenpm;
- Apply the script pg_schema (src/main/resources) on greenpm database.
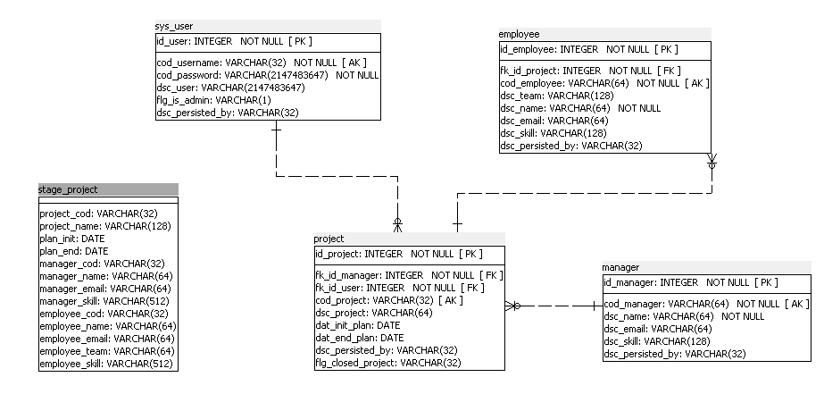
The picture bellow ilustrates the Database MR:
Detailing entities:
API / BATCH
- sys_user: stores system users.
- employee: stores information about employees and which project they participate.
- manager: stores information about project managers.
- project: stores information about the project.
BATCH
- stage_project: stores the data imported from the file.
To build the projects, run:
mvn clean package
Check each module's README.
LinkedIn - Adail Carvalho
